说起店铺权重,商家朋友们或多或少都了解一点,权重的高低会影响到系统排名和展现的,分配流量的精准度,分配流量的多与少。
但真要细究 拼多多单品权重是什么意思?拼多多单品权重怎么看?还是会有模糊不清的地方,今天就针对拼多多店铺权重和产品权重来给大家做一次全面的解析。
一、权重是什么
简单来说就是一种用数据和算法来将搜索出来的产品进行排序的一种策略。
搜索引擎可以说是买家和商品之间重要的连接桥梁,拼多多搜索框在首页最上方就是最好的说明。
输入关键词最靠前的商品最有可能被点击进入店铺,那如何决定给哪一款商品有资格放在最靠前的位置呢?这就需要权重来对商品排序选出”代表”了。
店铺权重
影响店铺权重的因素有很多,包括DSR评分、店铺领航员、店铺层级、上新率和动销率多方面。
1.DSR
DSR是店铺近90天内消费者给的动态评分,当有效评价达50个以上才会统计评分;店铺DSR=近90天星星数/近90天有效评价条数;
Dsr会影响店铺领航员表现,影响商品综合排名、影响营销活动报名。
如果店铺描述分低于同行30%直接下架所有资源位。
★ 如何提升DSR评分?
- 用评价有礼引导真实客户好评,
- 可以通过多多进宝推广,或者设置免单活动,增加好评,这种出评率会高一点,但是会记录历史历史最低价,影响后续报活动的价格;
- 选择有实力的物流公司,在选择合作快递前考核物流公司的综合实力,收货、揽件、物流、派件、问题件等服务细节是否完善,避免虚假交易,影响客户体验。
- 如实描述,商品详情页和实际一致,不夸大宣传,例如衣服面料做工等问题,避免买家收到货物后因描述不一致发生退货影响dsr评分。
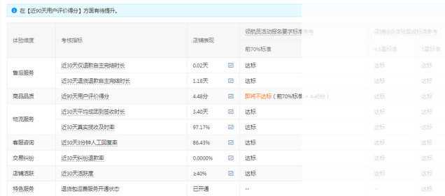
2.店铺领航员
店铺领航员是衡量店铺综合服务能力的数据指标,涉及售后服务、商品品质、物流服务、客服咨询、交易纠纷共5个维度,包含影响消费者体验的7项指标。
3.店铺层级
拼多多店铺层级是根据成交额来进行计算,成交额越高,相应的店铺排名也就越靠前,
统计的标准是:提取最近30天的支付成交额,总共分为七个层级,每个层级所能获得的流量也有所区别,举个例子:
1-3层级:分配流量10万,有10万个商家竞争;
4-5层级:分配流量10万,有5万个商家竞争;
6层级:分配10万流量,有1万商家竞争;
所以我们要尽可能地提升店铺层级去获得更大曝光,对于我们的店铺权重增长也是有作用的。
4.动销率
动销率=有销量商品数/店铺商品总数,也就是店铺30天内有销量商品数的占比。动销率越高越好,最好能达到80%以上。
举个例子,我们店铺一共有10个商品,其中2个商品是有销量的, 那么动销率=有销量商品数/店铺商品总数=2/10=0.2
单品权重
1、产值提升
产值=GMV=坑产=销售额,产值越高,单品权重就越大。没有销量和坑产的商品,权重很低,尤其是新品。
那我们常做的方式就有多多进宝/多多批发/付费推广/活动等多种方式去提升产值。
2.活动
活动可以提升免费排名,虽然报活动亏钱,一单亏1元,卖出了100单,但是权重起来了,流量也来了。
如果产品利润太低不足以支撑长期活动的话,可以做短期活动快速提升,比如说限时秒杀。
3.直播
直播可以增加转化率,为店铺带来巨大流量,如果没有那么多人力物力的情况下,我们可以进行无人直播,提前录制视频挂上去。
4.付费推广提升点击率和转化率
提升商品全红最重要的还是提升点击率和转化率,尤其是转化率。优化方向包括轮播图、标题、人群、详情页优化等。
在用多多搜索测图测款推广时,要做到行业的1.5-1.8倍,最好不要超过2倍,否则平台容易检测你。

蜗牛学社















